
Isolation thermique
UD jusqu’à 0,63 W/m2K (pour MB-86 Aero à panneau de 77 mm)
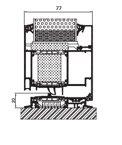
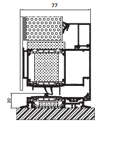
Profondeur du cadre/châssis
77 mm
Épaisseur du panneau de remplissage
44 – 77 mm
Dimensions maximales du châssis
L jusqu’à 1400 mm, H jusqu’à 2600 mm
Perméabilité à l’air
Classe 3
Étanche
à partir de la classe 6A (250 Pa)
Résistance à la charge du vent
de la classe C5/B5
Classe anti-cambriolage
RC2
SIMPLE

-
vantail de porte visible de l’extérieur et de l’intérieur
-
coefficient de transmission thermique pour portes UD à partir de 0,8 W/m3K
-
revêtement intérieur et externe en tôle d’aluminium de 1,5 mm d’épaisseur
-
panneau de remplissage avec une épaisseur totale de 44mm à 72mm
-
quatre variantes de conception : ST, SI, SI+, Aero
MILIEU

-
vantail de porte visible uniquement de l’intérieur
-
coefficient de transmission thermique pour portes UD à partir de 0,64 W/m3K
-
revêtement extérieur en tôle d’aluminium de 3 mm d’épaisseur
-
revêtement intérieur en tôle d’aluminium de 1,5 mm d’épaisseur
-
panneau de remplissage avec une épaisseur totale de 44mm à 85mm
-
quatre variantes de conception : ST, SI, SI+, Aero
CONFORT

-
vantail de porte invisible
-
coefficient de transmission thermique pour portes UD à partir de 0,63 W/m3K
-
revêtement extérieur en tôle d’aluminium de 3 mm d’épaisseur
-
revêtement intérieur en tôle d’aluminium d’une épaisseur de 1,5 mm
-
panneau de remplissage d’une épaisseur totale de 77 mm
-
quatre variantes de conception : ST, SI, SI+, Aero